| |
一、女同性爽爽爽免费观看,女女乱高潮久久久久久91,91九色视频pron,依人在线,曰韩国产在线,一级aaa黄色:SK型懸臂式水環真空泵的用處及利用規模:
女同性爽爽爽免费观看,女女乱高潮久久久久久91,91九色视频pron,依人在线,曰韩国产在线,一级aaa黄色:SK懸臂式水環真空泵SK-0.4、SK-0.8 、SK-1.0 、SK-1.5B型水環泵是用來抽吸氛圍和別的無侵蝕性、不溶于水、不含有固體顆粒的氣體,以便在密閉容器中構成真空。吸入氣體中許可含有少許液體。
女同性爽爽爽免费观看,女女乱高潮久久久久久91,91九色视频pron,依人在线,曰韩国产在线,一级aaa黄色:SK懸臂式水環真空泵普遍用于機器、煤油、化工、制藥、食物、陶瓷印染、冶金等行業,還出格合適作大型水泵引水用。
因為在任務進程中,氣體的緊縮是等溫的,在抽吸具備侵蝕性、易燃、易爆的氣體時,不易產生風險,以是其利用加倍普遍。
二、女同性爽爽爽免费观看,女女乱高潮久久久久久91,91九色视频pron,依人在线,曰韩国产在线,一级aaa黄色:SK型懸臂式水環真空泵的任務道理:
 |
SK懸臂式水環真空泵為懸臂式布局,如圖一所示、葉輪(1)偏疼的裝在泵體(2)內,是以當葉輪扭轉時,水受向心力的感化,在泵壁上構成一扭轉水環(3),水環上部與輪轂相切,沿箭頭標的目的扭轉,在前半轉的進程中,水環內外表逐步與輪離,是以在葉輪片間構成空間并逐步擴展,如許就從吸氣口吸入氣體,在后半轉的進程中,水環內外表逐步與輪轂接近,葉片間的空間體積逐步減小,葉片間的氣體被緊縮而排擠。
SK懸臂式水環真空泵如斯,葉輪每扭轉一周,葉片間的空間積就轉變一次,每一個葉片間的水便活塞一樣來去一次,女同性爽爽爽免费观看,女女乱高潮久久久久久91,91九色视频pron,依人在线,曰韩国产在线,一级aaa黄色:SK懸臂式水環真空泵就持續不時的抽吸氣體。
因為在任務中,水會發燒,同時一局部水和藹體一塊排起,以是泵在任務中,必須不時的供應冷水,以冷卻和補充泵內耗損的水。
當女同性爽爽爽免费观看,女女乱高潮久久久久久91,91九色视频pron,依人在线,曰韩国产在线,一级aaa黄色:SK懸臂式水環真空泵排擠的氣體是廢氣時,在排氣端可接一水箱,廢氣和帶出的一局部水排入水箱后,氣體再由水箱的排氣管排擠,而水就落入水箱的底部經回水管再回到泵內利用。若是水輪回時候長了水便發燒,這時候再從水箱供水處供應必然能量的冷水。
三、女同性爽爽爽免费观看,女女乱高潮久久久久久91,91九色视频pron,依人在线,曰韩国产在线,一级aaa黄色:SK型懸臂式水環真空泵首要手藝數據:
| 型號 |
非常大宇量
M3/MIN
|
真空泵度450MMHG
時宇量M3/MIN |
極限真空
MMHG |
轉速
R.P.M |
機電功率
KW |
水耗量
L/MIN |
| SK-0.4 |
0.4 |
0.36 |
700 |
2860 |
1.5 |
4-8 |
| SK-0.8 |
0.8 |
0.75 |
700 |
2860 |
2.2 |
5-10 |
| SK-1.0 |
1.0 |
1.0 |
700 |
2860 |
3.0 |
6-8 |
| SK-1.5B |
1.5 |
1.35 |
700 |
2860 |
4.0 |
8-12 |
注:SK懸臂式水環真空泵表中列數據在以下前提下得出:
1、大氣壓力0.1013Mpa(760mmHg)
2、進水溫度15℃
3、吸入氛圍溫度20℃
4、氛圍絕對濕度70%
5、機能許可誤差±10%
四、SK懸臂式水環真空泵的機能曲線:
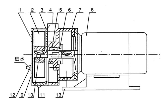
五、女同性爽爽爽免费观看,女女乱高潮久久久久久91,91九色视频pron,依人在线,曰韩国产在线,一级aaa黄色:SK型懸臂式水環真空泵的布局申明:
女同性爽爽爽免费观看,女女乱高潮久久久久久91,91九色视频pron,依人在线,曰韩国产在线,一级aaa黄色:SK型懸臂式水環真空泵的布局如圖二所示:首要是由泵蓋、葉輪、泵體構成,泵體上部有進排氣口法蘭,軸偏疼裝在泵體內,葉輪用平鍵牢固于軸上,葉輪與泵蓋及圓盤間的空隙,用泵體和圓盤之間間的墊子來調劑,此空隙決議氣體在泵內由進氣口至排氣口活動中喪失的巨細。
填料裝在泵體內,密封水經泵體上的針孔流入填猜中,葉輪構成水環所需的補充水顛末泵體上的彎頭供應,它可與自來水或汽水分手器聯在一路,供應輪回水。
?? 在圓盤上排氣(qi)(qi)(qi)孔(kong)上面有幾行(xing)圓孔(kong),用(yong)橡皮球閥封閉,這些孔(kong)的感化是當葉片間(jian)氣(qi)(qi)(qi)體壓力(li)到達排氣(qi)(qi)(qi)力(li)時,在排氣(qi)(qi)(qi)口之前就將氣(qi)(qi)(qi)體主(zhu)動放出,是以削減因氣(qi)(qi)(qi)體壓力(li)過(guo)大而耗損功率(lv)。
六、SK型懸臂式水環真空泵的汽水分手器及裝配申明:
 |
(1)用膠管或塑料管將水咀(見圖二中12)與自來水毗連遏制供水,并在此供水管路上裝配水閥調理水量。(供水量的巨細對其機能有間接的影響)
(2)真空泵用來作水泵引水用時,應將吸氣口連接在水泵的排水口與管路閥門之間。
(3)從機電端看泵為逆時針扭轉。(左側為吸氣口,右側為排氣)。SK-1.5B為順時針扭轉。
(4)真空泵吸氣管道不可有漏氣景象,其地基尺寸以裝配圖或以什物丈量遏制裝配。
(5)女同性爽爽爽免费观看,女女乱高潮久久久久久91,91九色视频pron,依人在线,曰韩国产在线,一级aaa黄色:SK型懸臂式水環真空泵若裝配汽水分手器,可參看圖四。
七、女同性爽爽爽免费观看,女女乱高潮久久久久久91,91九色视频pron,依人在线,曰韩国产在线,一级aaa黄色:SK型懸臂式水環真空泵的利用保護申明:
1、SK型懸臂式水環真空泵啟動前,須查抄機電扭轉標的目的是不是與泵的扭轉標的目的符合。啟動真空泵后,再調理進水量的巨細,而后查抄填料壓緊是不是恰當 (填料一般壓緊是能夠或許使泵中的水成滴的向外漏出),SK-1.5B應先加水再啟動真空泵,再調理進水量的巨細,軸承運行光滑是不是一般。
2、女同性爽爽爽免费观看,女女乱高潮久久久久久91,91九色视频pron,依人在线,曰韩国产在线,一级aaa黄色:SK型懸臂式水環真空泵啟動今后,須察看是不是有振動,諦聽SK型懸臂式水環真空泵內是不是有雜聲,并測定填料函和軸承溫度(一般軸承溫度不得比情況溫度超出跨越35℃,任務溫度不得高于70℃)若溫度超高,應當即泊車查抄緣由。
3、女同性爽爽爽免费观看,女女乱高潮久久久久久91,91九色视频pron,依人在线,曰韩国产在线,一级aaa黄色:SK型懸臂式水環真空泵作為水泵真空引水用時,其運行時代將水泵內的氛圍全數吸出,直到女同性爽爽爽免费观看,女女乱高潮久久久久久91,91九色视频pron,依人在线,曰韩国产在线,一级aaa黄色:SK型懸臂式水環真空泵內吸出水來今后,即開動水泵,待水泵一般任務后將真空泵泊車,并將吸氣管路的閥門封閉。
4、女同性爽爽爽免费观看,女女乱高潮久久久久久91,91九色视频pron,依人在线,曰韩国产在线,一级aaa黄色:SK型懸臂式水環真空泵泊車挨次
(1)封閉進氣管路上閘閥
(2)封閉供水管路上閘閥,停水后不宜當即停泵,應使泵持續運行1-2分鐘排擠局部任務液。機器密封應先停泵再停水。
(3)封閉電念頭。
(4)若是泊車時候跨越一天,須將泵蓋底部的螺塞翻開,將泵體內水放凈。
5、SK型懸臂式水環真空泵在以下前提下利用時,應加從屬裝備。
(1)原告抽除氛圍或氣體中含有塵埃,必須在進氣管上裝配過濾器。
(2)被抽氣體中含有大批蒸氣時,必須在進氣管上裝配冷凝器。
(3)抽除帶有侵蝕性氣體時,在進入泵前必須遏制中和。
(4)被抽氣體的溫度跨越35℃時,在進入泵前必須顛末冷凝裝配,以保障溫度不跨越35℃。
(5)被抽氣體中含有大批液體時,必須在進氣管前裝汽水分手器。
(6)女同性爽爽爽免费观看,女女乱高潮久久久久久91,91九色视频pron,依人在线,曰韩国产在线,一级aaa黄色:SK型懸臂式水環真空泵的起動電流常常是機電額外電流幾倍,必須配用起動開關。
注:①本單元SK型懸臂式水環真空泵隨手藝改良等緣由,不經預報可變更。
②本單元女同性爽爽爽免费观看,女女乱高潮久久久久久91,91九色视频pron,依人在线,曰韩国产在线,一级aaa黄色:SK型懸臂式水環真空泵在保修期內不經本單元許可,不得隨便裝配。
八、女同性爽爽爽免费观看,女女乱高潮久久久久久91,91九色视频pron,依人在线,曰韩国产在线,一级aaa黄色:SK型懸臂式水環真空泵的起動及泊車:
(1)SK型懸臂式水環真空泵起動:
顛末持久泊車的泵在開動之前,必須用手動彈聯軸器數周,以便證明不卡住或毀傷景象。
1.封閉進氣管上的閘閥(2)(圖11)。
2.女同性爽爽爽免费观看,女女乱高潮久久久久久91,91九色视频pron,依人在线,曰韩国产在线,一级aaa黄色:SK型懸臂式水環真空泵若是排氣管上裝有閘閥(9)也應將其封閉。
3.向填料函和藹水分手器內灌水。
4.當氣水分手器往外溢水時,開動電念頭。
5.全開由氣水分手器向泵給水管路(6)上的球形閥(7)。
6.翻開排氣管上的閘閥(9)。
7.翻開進氣管上的閘閥(2)。
8.用球形閥(7)調劑由氣水分手器向女同性爽爽爽免费观看,女女乱高潮久久久久久91,91九色视频pron,依人在线,曰韩国产在线,一级aaa黄色:SK型懸臂式水環真空泵送水的水量,以便在所請求的手藝前提下下運行,使功率功耗最小。
9.調劑由進水管(5)向氣水分手器的送水量,以便用最小的水量耗損,保障泵所請求的手藝標準。
10.調劑向填料函的送水量,以便用最小的水量耗損保障填料函的密封性,真空泵在極限真空度下任務時,因為泵內產生
物理感化而產生爆炸聲,但功 率耗損量并不增大。
跟著功率耗損的進步而產生的爆炸聲,表現泵產生了弊端,此時泵應泊車。
(2)女同性爽爽爽免费观看,女女乱高潮久久久久久91,91九色视频pron,依人在线,曰韩国产在线,一级aaa黄色:SK型懸臂式水環真空泵泊車,車按以挨次:
1.封閉進氣管上的閘閥(2)(圖11)。
2.封閉排氣管上閘閥(9)。
3.封閉電念頭。
4.遏制向填料、氣水分手器內灌水。
5.當氣不分手器溢水管遏制向外溢水后,封閉向泵灌水管路。
6.上緊球形閥。
7.如SK型懸臂式水環真空泵泊車(che)時(shi),必(bi)須(xu)擰開(kai)泵及氣水分手器上的管堵把水放凈。
九、SK型懸臂式水環真空泵的保護:
1.SK型懸臂式水環真空泵應按期的壓緊填料,如填料因磨損而不能保障所需要的密封性時,應換新填料,填料不能壓的過緊,一般壓緊的填料許可水成滴漏出,其量不得太多,利用油浸的石棉繩作填料。
2.SK型懸臂式水環真空泵常常查抄滾球軸承的任務和光滑情況。
3.女同性爽爽爽免费观看,女女乱高潮久久久久久91,91九色视频pron,依人在线,曰韩国产在线,一级aaa黄色:SK型懸臂式水環真空泵一般任務的轉動軸承,其溫度比四周溫度高15℃~20℃,最高不許可跨越55℃~60℃,一般任務的軸承每一年應裝油3~4次。每一年最少洗濯軸承一次,并將光滑油全數改換。
真空泵別的產物:女同性爽爽爽免费观看,女女乱高潮久久久久久91,91九色视频pron,依人在线,曰韩国产在线,一级aaa黄色:2X系列旋片式真空泵,女同性爽爽爽免费观看,女女乱高潮久久久久久91,91九色视频pron,依人在线,曰韩国产在线,一级aaa黄色:X系列旋片式真空泵,2XZ系列旋片式真空泵,女同性爽爽爽免费观看,女女乱高潮久久久久久91,91九色视频pron,依人在线,曰韩国产在线,一级aaa黄色:2XZ系列旋片式真空泵,女同性爽爽爽免费观看,女女乱高潮久久久久久91,91九色视频pron,依人在线,曰韩国产在线,一级aaa黄色:WX無油旋片式真空泵,女同性爽爽爽免费观看,女女乱高潮久久久久久91,91九色视频pron,依人在线,曰韩国产在线,一级aaa黄色:XD系列旋片式真空泵,女同性爽爽爽免费观看,女女乱高潮久久久久久91,91九色视频pron,依人在线,曰韩国产在线,一级aaa黄色:2BV系列水環式真空泵,女同性爽爽爽免费观看,女女乱高潮久久久久久91,91九色视频pron,依人在线,曰韩国产在线,一级aaa黄色:SK系列水環式真空泵,女同性爽爽爽免费观看,女女乱高潮久久久久久91,91九色视频pron,依人在线,曰韩国产在线,一级aaa黄色:2SK系列水環式真空泵,女同性爽爽爽免费观看,女女乱高潮久久久久久91,91九色视频pron,依人在线,曰韩国产在线,一级aaa黄色:SZ系列水環式真空泵,SK系列懸臂式真空泵,2BE系列水環式真空泵,SZB系列水環式真空泵,ZJ型羅茨泵系列,女同性爽爽爽免费观看,女女乱高潮久久久久久91,91九色视频pron,依人在线,曰韩国产在线,一级aaa黄色:ZJP型羅茨泵系列,女同性爽爽爽免费观看,女女乱高潮久久久久久91,91九色视频pron,依人在线,曰韩国产在线,一级aaa黄色:羅茨-旋片真空機組,女同性爽爽爽免费观看,女女乱高潮久久久久久91,91九色视频pron,依人在线,曰韩国产在线,一级aaa黄色:羅茨-水環真空機組,分散泵機組,無油干泵機組,水放射泵機組,W型來去式真空泵,女同性爽爽爽免费观看,女女乱高潮久久久久久91,91九色视频pron,依人在线,曰韩国产在线,一级aaa黄色:WLW型來去式真空泵,2H系列滑閥式真空泵,H系列干泵,K型油分散泵系列
SK型懸臂式水環真空泵的定貨須知:
一、請供應以下具體數據:①SK型懸臂式水環真空泵的產物稱號與型號②女同性爽爽爽免费观看,女女乱高潮久久久久久91,91九色视频pron,依人在线,曰韩国产在线,一级aaa黄色:SK型懸臂式水環真空泵的真空度請求單元PA或MPA③女同性爽爽爽免费观看,女女乱高潮久久久久久91,91九色视频pron,依人在线,曰韩国产在线,一级aaa黄色:SK型懸臂式水環真空泵抽速請求單元L/S或M3/MIN④女同性爽爽爽免费观看,女女乱高潮久久久久久91,91九色视频pron,依人在线,曰韩国产在线,一级aaa黄色:SK型懸臂式水環真空泵的利用前提和功況前提⑤女同性爽爽爽免费观看,女女乱高潮久久久久久91,91九色视频pron,依人在线,曰韩国产在线,一级aaa黄色:SK型懸臂式水環真空泵的機電功率(KW)⑥SK型懸臂式水環真空泵的轉速(r/min)⑦SK型懸臂式水環真空泵的電壓〔V〕⑧女同性爽爽爽免费观看,女女乱高潮久久久久久91,91九色视频pron,依人在线,曰韩国产在线,一级aaa黄色:SK型懸臂式水環真空泵的收支口口徑⑨女同性爽爽爽免费观看,女女乱高潮久久久久久91,91九色视频pron,依人在线,曰韩国产在线,一级aaa黄色:SK型懸臂式水環真空泵是不是帶附件,以便咱們的為您準確選型。
二、若已顛末設想單元選定我公司的女同性爽爽爽免费观看,女女乱高潮久久久久久91,91九色视频pron,依人在线,曰韩国产在线,一级aaa黄色:SK型懸臂式水環真空泵的產物型號,請按SK型懸臂式水環真空泵型號間接向公司發賣部訂購。
三、當利用的場所很是主要或情況比擬龐雜時,請您盡可能供應設想圖紙和具體參數,由咱們的手藝專家為您選型確認。
四、我公司辦事德律風:400-6064-114
感激您拜(bai)候我公司的(de)網站,若(ruo)有任(ren)何(he)疑(??yi)難(nan).您能(neng)夠致電給(gei)咱們(men),咱們(men)必然會經(jing)心極力為(wei)您供應(ying)優良的(de)辦事。
產物相干關頭字:女同性爽爽爽免费观看,女女乱高潮久久久久久91,91九色视频pron,依人在线,曰韩国产在线,一级aaa黄色:SK型懸臂式水環真空泵,女同性爽爽爽免费观看,女女乱高潮久久久久久91,91九色视频pron,依人在线,曰韩国产在线,一级aaa黄色:SK懸臂式水環真空泵
|